| নং | শিরোনাম | সেবার ধাপ | কার্যকলাপ |
|---|---|---|---|
| | |||
| ১ | রোপা আমন ধানের পোকামাকড় ও রোগ বালাই দমনে পিপি স্কোয়ার্ড গঠন | দেখুন | |
| ২ | মাটি ব্যবস্থাপনা | দেখুন | |
| ৩ | বীজ | দেখুন | |
| ৪ | বালাই ব্যবস্থাপনা | দেখুন | |
| ৫ | ফসলের জাত | দেখুন | |
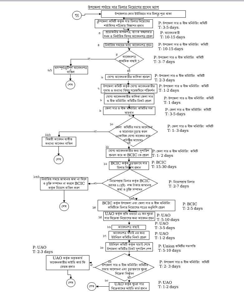
| ৬ | সার ডিলার নিয়োগ প্রসেস ম্যাপ | দেখুন | |
| ৭ | প্রশিক্ষণ | দেখুন | |
| ৮ | ভর্তুকি | দেখুন | |
| ৯ | সার | দেখুন |